Сошники і форма борозни
Як свідчить практика, найбільш важливим показником роботи сошника є форма борозни, завдяки якій створюється необхідна мікроструктура в ґрунті, що впливає на проростання зерна. Форма і розміри борозни, яку утворює сошник, залежать переважно від кута входження сошника у ґрунт і від параметрів клина, утвореного формою робочої частини сошника. Сошники з тупим кутом входження при прокладанні борозни переміщують ґрунт зверху вниз, ущільнюють дно борозни; з гострим кутом — знизу вверх; з прямим — розсовують його у сторони.
Найбільш розповсюдженими формами борозен, які створюються сошниками різних типів, є: V-подібна, W-подібна, U-подібна та перевернута Т-подібна (рис. 1). Також застосовуються варіанти сівби без створення борозни з розкидання по поверхні (поверхневий чи підґрунтовий висів).

Вимоги до сошника
Сошник (сошникова група) є одним із ключових елементів конструкції сівалки. Він визначає технологічне призначення її та дозволяє максимально ефективно використовувати для сівби в заданих конкретних умовах. Враховуючи всі можливі умови сівби, виробники сільськогосподарських машин пропонують сьогодні цілий ряд сошників різних типів, адже саме сівалка, обладнана необхідним типом сошникової групи, може забезпечити розміщення насіння на необхідній глибині та гарантувати цим отримання високих урожаїв.
Сошник, вибраний для сівби, повинен відповідати таким вимогам:
- формувати очищену від рослинних решток посівну борозну і вкладати насіння у вологий ґрунт та прикривати його достатньою кількістю ґрунту, забезпечуючи надійний контакт;
- забезпечувати самоочищення і мати захисні пристрої від перешкод (грудки, каміння тощо) для забезпечення безперебійної роботи;
- утримувати постійну оптимальну глибину сівби;
- мати можливість швидко змінювати тиск сошника під різні ґрунтові умови;
- забезпечувати оптимальну якість сівби навіть при швидкостях до 20 км/год.;
- мати довгий термін служби і низькі витрати на обслуговування.
Дискові сошники: одно-
та дводискові
Проаналізуємо переваги і недоліки всіх видів сошників, які використовуються на сівалках і які можуть бути використані для забезпечення прямої сівби.
Дискові сошники підрозділяються на дво- і однодискові. Порівняно з іншими вони складніші за конструкцією і мають велику масу, проте їх найбільше використовують на сівалках. На дискові сошники менше налипає вологий ґрунт, вони забезпечують надійне протікання процесу сівби у відповідності з агротехнічними вимогами на грудкуватому і глибистому ґрунті, на полях засмічених рослинними та кореневими залишками бур’янів на перелогових і цілинних землях, але якісні показники технологічного процесу забезпечуються не завжди.

На нижній поверхні диска закріплений конусоподібний розсіювач насіння. Розсіювач із каналом утворюють кільцевий зазор для проходу насіння між конусоподібною поверхнею розсіювача і торцевою поверхнею стояка. Дисковий сошник додатково забезпечений розподільними елементами. Розподільні елементи закріплені на нижній поверхні диска навколо розсіювача насіння. Таке конструктивне виконання дозволяє забезпечити рівномірне внесення добрив чи насіння і добрив по всій ширині оброблюваної смуги.
Однодискові сошники з вертикальним розташуванням диска (рис. 2) працюють за принципом дискової борони, значно краще заглиблюються у ґрунт, оскільки один диск має меншу опорну поверхню, краще розрізає рослинні рештки, якісніше формує борозну, в якій розміщується насіння. Однодисковий сошник обертається у ґрунті під кутом від 3 до 7 градусів до напрямку руху. Це дозволяє під час руху частково перерізати, а частково зміщувати пожнивні рештки і верхній шар ґрунту в сторону. Щоб поліпшити якість розрізання верхнього шару, деякі виробники сівалок використовують зубчасті та опуклі диски. Переваги опуклих дисків полягають у тому, що вони вимагають менше місця, відкидають менше ґрунту, а також дозволяють висівати насіння з більш вузькими міжряддями.

Тенденція розвитку таких типів сошників йде до збільшення розміру дисків. Вони характеризуються більшою зносостійкістю і плавною роботою. Дозволяють розвивати швидкість сівби сівалками до 20 км/год.
Однодискові сошники працюють несиметрично, вони постійно сприймають односторонній тиск. З часом це може призвести до зношування навіски, хоч самі сошники майже не зношуються і не вимагають технічного обслуговування. У такому випадку ряди наближаються один до одного, і це призводить до ефекту подвійного ряду.
Перевагами однодискових сошників є: хороша придатність для сівби по мульчі; мінімум технічного обслуговування; порівняно проста конструкція. До недоліків відносять низьку надійність навісних систем та нерівномірність розподілу насіння по глибині загортання.
Посівні секції з такими типами сошників можна рекомендувати для широкого діапазону варіантів сівби зернових культур, а при забезпеченні достатнього притискного зусилля на сошник можна використовувати для прямої сівби.
Найбільш універсальними і поширеними сошником для сівби зернових вважаються дводискові сошники. Їх встановлюють на зернових, зернотрав’яних та овочевих сівалках. Такі сошники можуть забезпечити середню якість посіву як після проведення передпосівного, так і за наявності рослинних решток при нульовому та мінімальному обробітках. Більш краще працюють в умовах грубого обробітку ґрунту важкого механічного складу і підвищеної вологості, при наявності рослинних решток у поверхневому шарі та загортання насіння на глибину до 9 см.

Як правило, регулювання глибини загортання насіння здійснюється груповим способом, а за необхідності — індивідуально, шляхом зміни зусилля пружини на кожному сошнику. Рельєф поверхні поля така сошникова група копіює, але глибина загортання насіння в основному залежить від стану ґрунту, поверхні поля та тиску на диски сошника.
Профіль дна борозни після часткового зношування дисків, за рахунок незалежної їх дії на ґрунт, утворюється W-подібним з неущільненим горбиком ґрунту посередині борозни. Такий профіль борозни та рух насіння у порожнині між рухомими дисками створює умови контакту насінин з поверхнями дисків і під дією сил тертя викидає частину насіння на поверхню. За рахунок такого руху насіння розподіляється у борозні на різних горизонтах. Такі сошники дуже нерівномірно розподіляють насіння по глибині у борозні, крім того, воно загортається пухким шаром ґрунту, а при швидкості сівалки більше за 8 км/год., значна кількість насіння виноситься дисками навіть на поверхню поля, яке загортається шлейфом сівалки у поверхневому шарі ґрунту на невеликій глибині (1–2 см). На заданій же глибині загортання залишається усього 38–56% насіння. При роботі сошників у вологому ґрунті він налипає на їх поверхню, що суттєво погіршує якість сівби (рис. 4).
Для покращення якості загортання насіння дводисковим сошником у свій час було проведено велику кількість досліджень та запропоновано багато конструкцій.
Для зменшення нерівномірного загортання насіння по глибині рядка, причинами якого є попадання частини насіння на внутрішні поверхні дисків, після чого воно ними відкидається відцентровими силами в різні боки, в тому числі і на денну поверхню ґрунту, в нижній частині сошника між дисками було запропоновано встановити нерухому п’ятку різних конструкцій, до бічних сторін якої прикріплюються щоки, що утворюють горловину для проходження насіння до дна борозни. Щоки в задній частині зрізані під деяким кутом. Насіння з напрямника сошника попадає безпосередньо в міжщоковий простір і далі на дно борозни, не торкаючись рухомих дисків.
Під час руху сівалки диски сошника обертаються, розпушуючи ґрунт в зоні між рядками й утворюючи при цьому дві борозни в місці проходу дисків і горбик посередині рядка. Встановлена в нижній частині сошника п’ятка, рухаючись всередині рядка, усуває горбок, переміщуючи його частки в борозенки, утворені від проходу дисків і створюючи одну борозну з ущільненим дном. В цю боріздку попадає насіння, яке випадає з лійки, проходить через напрямник та щоки. Завдяки зробленому в задній частині щік сошника вирізу насіння в борозні засипається нижніми, більш вологими шарами ґрунту.
Українські розробки

Однак використання у сівалках таких вдосконалених сошників призводить до ускладнення конструкції та неможливість їх використання для прямої сівби, оскільки встановлення додаткових подібних пристроїв вимагає більшого навантаження на сошник для його заглиблення. Вони також забиваються рослинними рештками, що унеможливлює їх роботу на попередньо непідготовлених полях.

Позитивною стороною дводискових сошників є: придатність для прямої сівби при відносно простій конструкції посівної секції, робота на швидкостях до 20 км/год. Недоліками є нерівномірний розподіл насіння у борозні на різних горизонтах, налипання ґрунту.
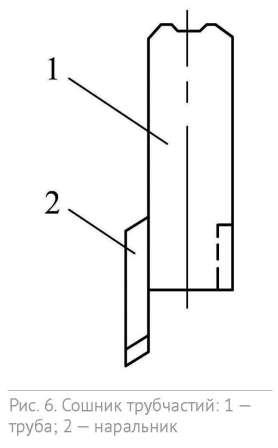
Трубчасті сошники (рис. 6) встановлюють на зернових сівалках для сівби по стерні і ґрунтах, які піддаються вітровій ерозії. Складається із трубки і наральника.
Під час роботи сошник вібрує, що сприяє його самоочищенню. Глибина загортання насіння не завжди відповідає вимогам.
Лапові сошники
Лапові сошники застосовують для висіву насіння зернових культур по необробленій стерні на легких ґрунтах, схильних до вітрової ерозії. Ними одночасно можна розпушувати ґрунт та знищувати бур’яни як культиваторами, виконувати сівбу і вносити мінеральні добрива. Розрізняють сошники для рядкового, стрічкового і суцільного посівів.

Розсіювач рівномірно розподіляє насіння по лівому і правому боках смуги, але при цьому незасіяною лишається центральна смужка борозни, що погіршує якісні показники смугової сівби.
Також недоліком лапового сошника є погіршення висіву насіння, яке має високий коефіцієнт пружності при падінні з насіннєпроводу на розсіювач, в результаті чого таке насіння хаотично перерозподіляється у борозні, зменшуючи рівномірність висіву.
Лапові сошники для безрядкового посіву містять кронштейн у передній частині якого встановлений насіннєтукопровід, що має нахил вперед і виконаний у формі еліпса. До нижньої частини насіннєтукопровода прикріплена пластина, до якої, своєю чергою, кріпиться стрілчаста лапа і вставка, на котрій по дузі кола закріплений пруток. У нижній частині стрілчастої лапи встановлено розподільник насіння.
Одним із недоліків у роботі лапових сошників є утворення незакритої ґрунтом борозни з насінням після його проходу. Причому з підвищенням швидкості ці борозни збільшуються, а в певних випадках доходять до глибини ходу сошника, що неприпустимо за агротехнічними вимогами. Як варіант вирішення цієї проблеми є спроба встановлення на крилах лапи підкрилків, які призвані розсовувати від центральної частини до країв крил шар ґрунту. На практиці ж між підкрилком і крилом лапи налипає ґрунт і бажаного ефекту не досягається.
Анкерні сошники
З моменту переходу на мінімальну технологію і по сьогодні на полях працюють сошником анкерного типу — так званим «сошником Андерсена» (рис. 8).

Посівний комплекс AIRSEEDER CO — анкерна сівалка нового покоління, яка виконує підготовку ґрунту, сівбу та внесення добрив за один прохід, обладнується модернізованими анкерними сошниками, передня частина яких дообладнується спеціальним наральником з гострим кутом входження у ґрунт та додатковим крильцями (рис. 9.).

Сівалки, оснащені анкерними сошниками такого типу, можуть бути рекомендовані до використання у технологіях мінімального обробітку ґрунту, оскільки нечутливі до наявності рослинних решток на поверхні поля, краще підтримують рівномірну глибину загортання насіння в щільних ґрунтах та додатково обробляють ґрунт в зоні рядка.

Відомі конструкції сошників зі здвоєними долотоподібними сошниками типу Seed Hawk (рис. 11) для сівби зернових культур з одночасним внесенням мінеральних добрив, які змонтовані на радіальній підвісці з заднім опорно-прикочувальним колесом та гідравлічною системою регулювання притискного зусилля сошника.

Такий тип сошникової групи за якістю роботи дуже близький до попереднього, оскільки регулювання та стабільність глибини загортання насіння легко і якісно забезпечується спеціальною гідравлічною системою.
Долотоподібні сошники

Оригінальну і досить просту конструкцію мають сошники для прямого посіву сівалками СТС. Він обладнаний оборотним долотоподібним наральником (рис. 13).
Як свідчить аналіз конструкцій сошникових груп зернових сівалок, кожний тип сошників призначений для сівби: або після якісного передпосівного обробітку, або по мінімальному обробітку, або для безпосередньої сівби в непідготовлений ґрунт. Проте є один узагальнюючий параметр, по якому можна досить легко та ефективно оцінити сівалку і встановити, за якої системи обробітку її використання буде ефективним — це конструктивно задане зусилля, з яким сошник притискається до поверхні ґрунту. Для посіву зернових за традиційними технологіями, які передбачають оранку та якісний передпосівний обробіток, можна рекомендувати сівалки, обладнані сошниковими групами анкерного типу та дводискові або однодискові з прижимним зусиллям до 50 кг.

Аналіз сучасних тенденцій свідчить про те, що анкерні сошники втрачають актуальність, а долотовидні використовуються тільки за певних умов. Все більше аграріїв віддають перевагу одно- або дводисковим сошниками. На сьогодні близько 85% усіх посівних агрегатів виробники сільгоспмашин постачають з вищевказаними робочими органами. Їх використання дозволяє надійно виконувати технологічний процес, створювати борозну, однак їх застосування призводить до суттєвого збільшення маси сівалки, що є необхідною умовою забезпечення роботи сошників такого типу. Зменшення питомого тиску на сошник, а як наслідок, і зменшення маси сівалки можна досягти в результаті використання сошників із гострим кутом входження у ґрунт. Їх поширення в технологіях прямої сівби обмежується забиванням рослинними рештками. Конструктивне вирішення цієї проблеми відкриє шлях до суттєвого зниження металоємкості посівних машин, а отже, і негативного їх впливу на основний засіб сільськогосподарського виробництва — ґрунт.